
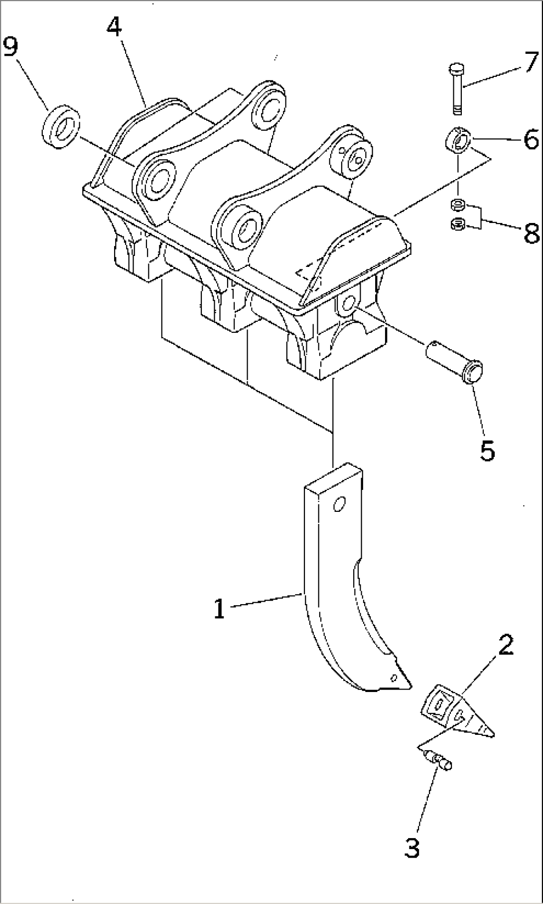
| Item | Part No. | Part Name | Qty | Serial No. |
| 207-951-0010 | THREE SHANK RIPPER A | 30001- | ||
| 207-951-0020 | SHANK ASS'Y | 30001- | ||
| 1 | \6\ | SHANK | 30001- | |
| 2 | 175-78-31230 | POINT | 30001- | |
| 3 | 09244-02508 | PIN | 30001- | |
| 4 | \6\ | BRACKET | 30001- | |
| 5 | 207-951-1140 | PIN | 30001- | |
| 6 | 207-951-1150 | COLLAR | 30001- | |
| 7 | 01019-11620 | BOLT | 30001- | |
| 8 | 01580-11613 | NUT | 30001- | |
| 9 | 207-70-34310 | COLLAR | 30001- |
