
| Item | Part No. | Part Name | Qty | Serial No. |
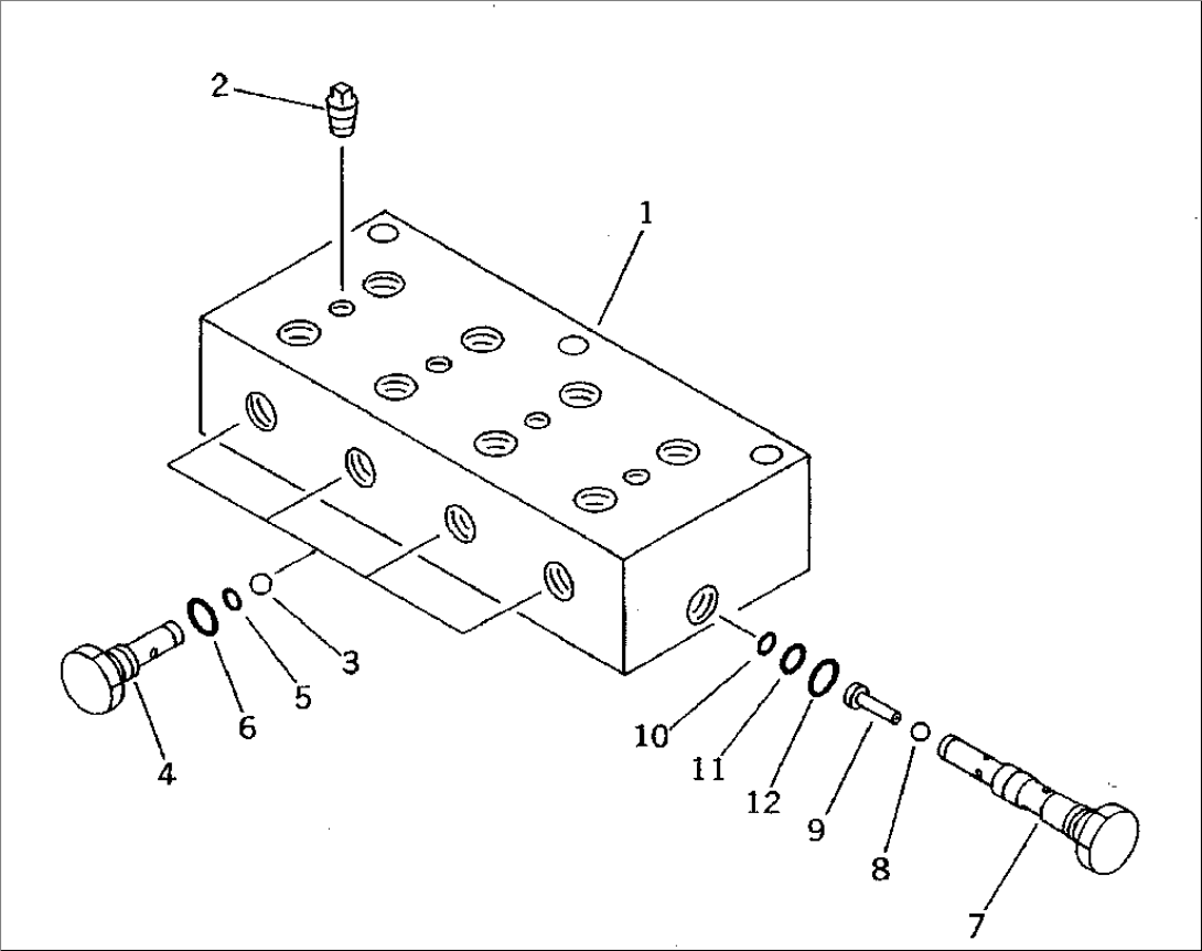
| G-1 | (\8\206-60-X1261) | PUMP GROUP | 35001- | |
| ==================== | ||||
| 702-19-24000 | CHECK VALVE ASS'Y,L.H. | 35001- | ||
| 1 | 702-19-12310 | BLOCK | 35001- | |
| 2 | 07042-30108 | PLUG | 35001- | |
| 3 | 04260-00952 | BALL | 35001- | |
| 4 | 702-19-12120 | PLUG | 35001- | |
| 5 | 07000-11007 | O-RING | 35001- | |
| 6 | 07002-11423 | O-RING | 35001- | |
| 702-19-11000 | SHUTTLE VALVE ASS'Y | 35001- | ||
| 7 | \6\ | PLUG | 35001- | |
| 8 | \6\ | BALL | 35001- | |
| 9 | \6\ | SEAT | 35001- | |
| 10 | 07000-11007 | O-RING | 35001- | |
| 11 | 07000-11009 | O-RING | 35001- | |
| 12 | 07002-11423 | O-RING | 35001- | |
| ==================== |
