
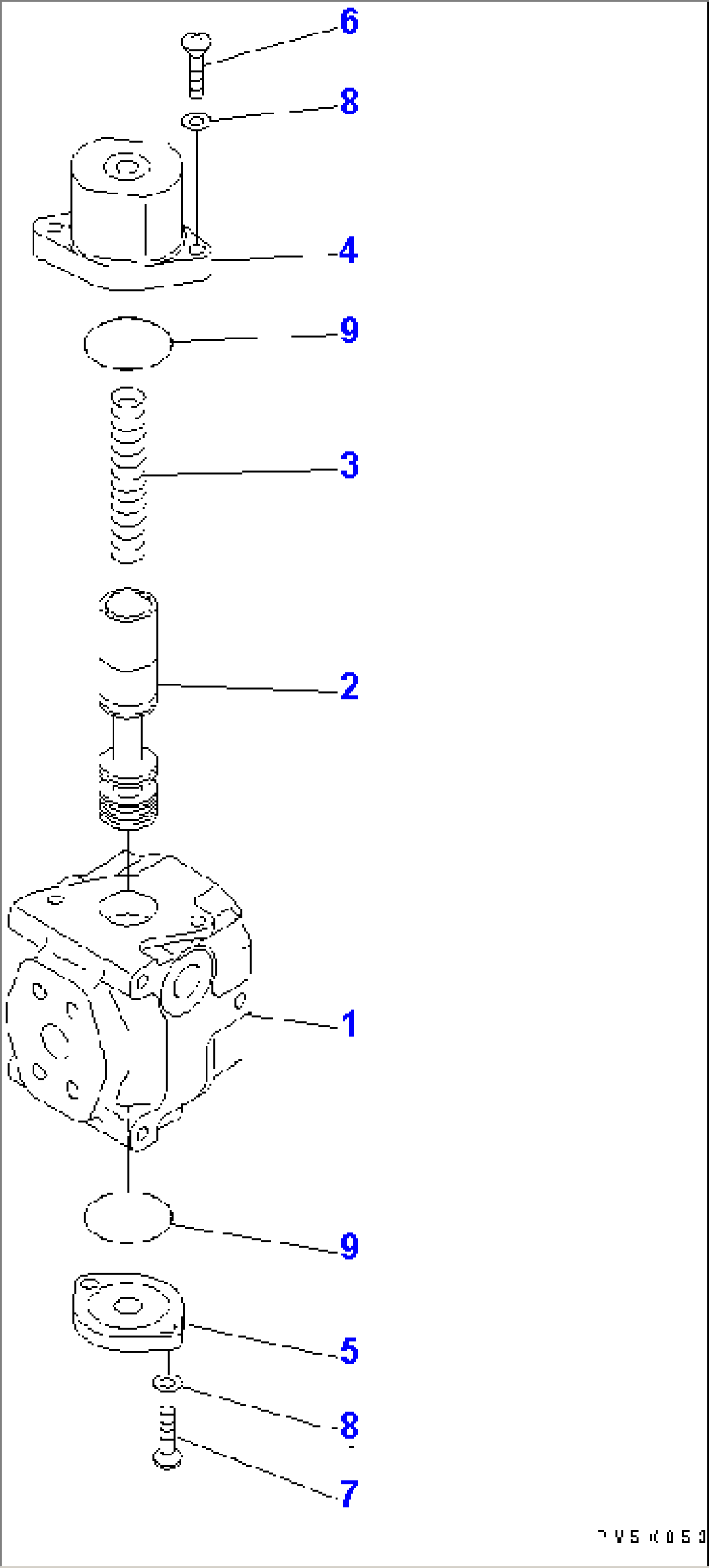
| Item | Part No. | Part Name | Qty | Serial No. |
| 702-21-01920 | VALVE ASS'Y | A87001- | ||
| 1 | \6\ | BLOCK | A87001- | |
| 2 | \6\ | SPOOL | A87001- | |
| 3 | 702-21-11930 | SPRING | A87001- | |
| 4 | 702-21-11940 | CASE | A87001- | |
| 5 | 709-10-91240 | FLANGE | A87001- | |
| 6 | 01252-61040 | BOLT | A87001- | |
| 7 | 01252-61030 | BOLT | A87001- | |
| 8 | 01643-51032 | WASHER | A87001- | |
| 9 | 07000-12055 | O-RING | A87001- |
