
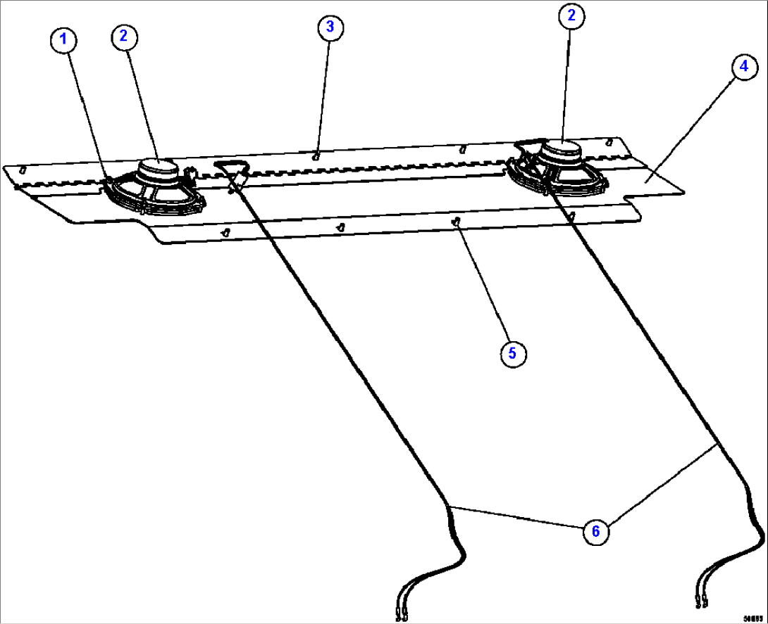
| Item | Part No. | Part Name | Qty | Serial No. | 
| 1 | WA2858 | LOCKNUT - #10 - 24NC | ||
| 2 | PC0724 | SPEAKER ASSEMBLY | ||
| 3 | 31127R1 | CAPSCREW - M6 X 1.00 X 12 | ||
| 4 | EL2692 | PANEL | ||
| 5 | PB8658 | SCREW - M6 X 1.00 X 30 | ||
| 6 | EL2946 | HARNESS, SPEAKER | 

| Item | Part No. | Part Name | Qty | Serial No. | 
| 1 | WA2858 | LOCKNUT - #10 - 24NC | ||
| 2 | PC0724 | SPEAKER ASSEMBLY | ||
| 3 | 31127R1 | CAPSCREW - M6 X 1.00 X 12 | ||
| 4 | EL2692 | PANEL | ||
| 5 | PB8658 | SCREW - M6 X 1.00 X 30 | ||
| 6 | EL2946 | HARNESS, SPEAKER |