
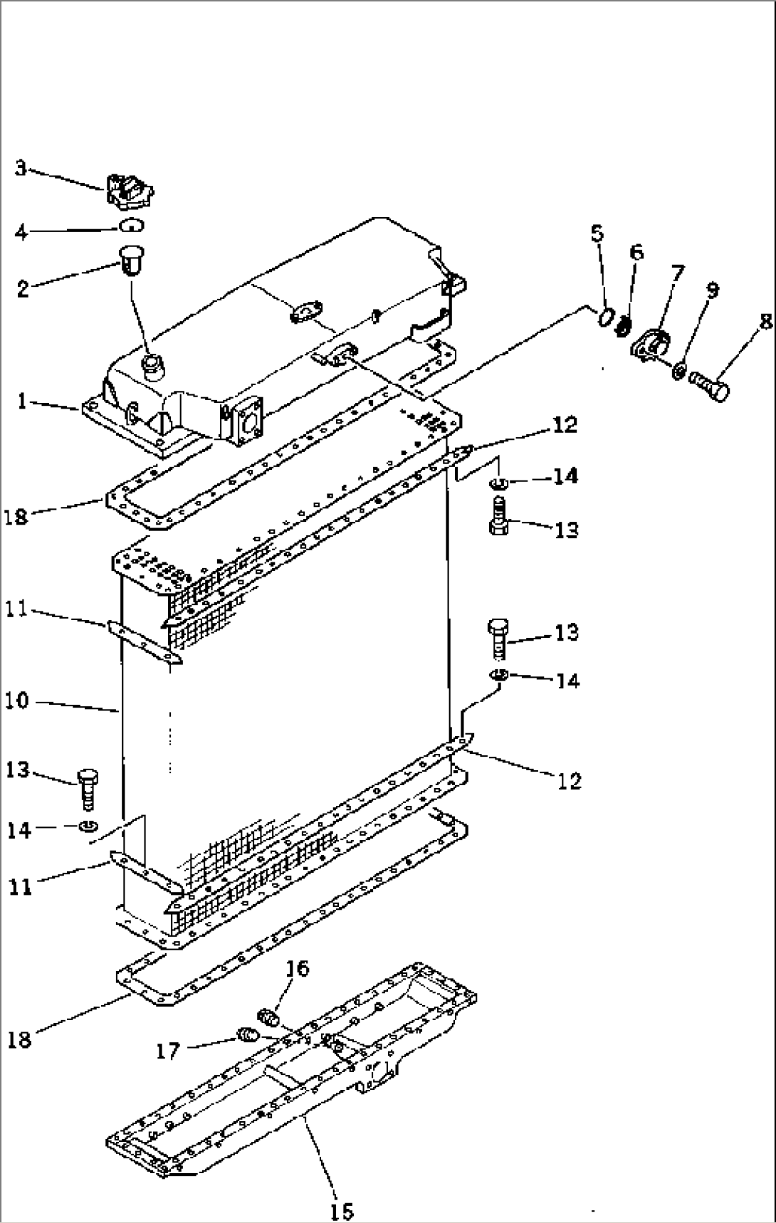
Item | Part No. | Part Name | Qty | Serial No. |
209-03-00110 | RADIATOR ASS'Y | 10501- | ||
209-03-00120 | .UPPER TANK ASS'Y | 10501- | ||
1 | 209-03-11282 | ..TANK,UPPER | 10501- | |
2 | 07056-00048 | ..STRAINER | 10501- | |
G-1 | (\8\209-54-X4300) | VANDALISM GROUP | 10501- | |
B | = | ==================== | 10501- | |
3 | 07093-20000 | ..CAP | 10501- | |
B | = | ==================== | 10501- | |
4 | 07057-03271 | ..RING,SNAP | 10501- | |
5 | 07000-03045 | ..O-RING | 10501- | |
6 | 175-03-32570 | ..SCREEN | 10501- | |
7 | 154-03-11682 | ..VALVE | 10501- | |
8 | 01010-51025 | ..BOLT | 10501- | |
9 | 01643-31032 | ..WASHER | 10501- | |
10 | 195-03-22131 | .CORE | 10501- | |
11 | 195-03-11143 | .PLATE | 10501- | |
12 | 195-03-22260 | .PLATE | 10501- | |
13 | 01010-51030 | .BOLT | 10501- | |
14 | 01602-21030 | .WASHER,SPRING | 10501- | |
15 | 195-03-22120 | .TANK,LOWER | 10501- | |
16 | 07042-30415 | .PLUG | 10501- | |
17 | 07042-30108 | .PLUG | 10501- | |
18 | 195-03-22430 | .GASKET | 10501- |