
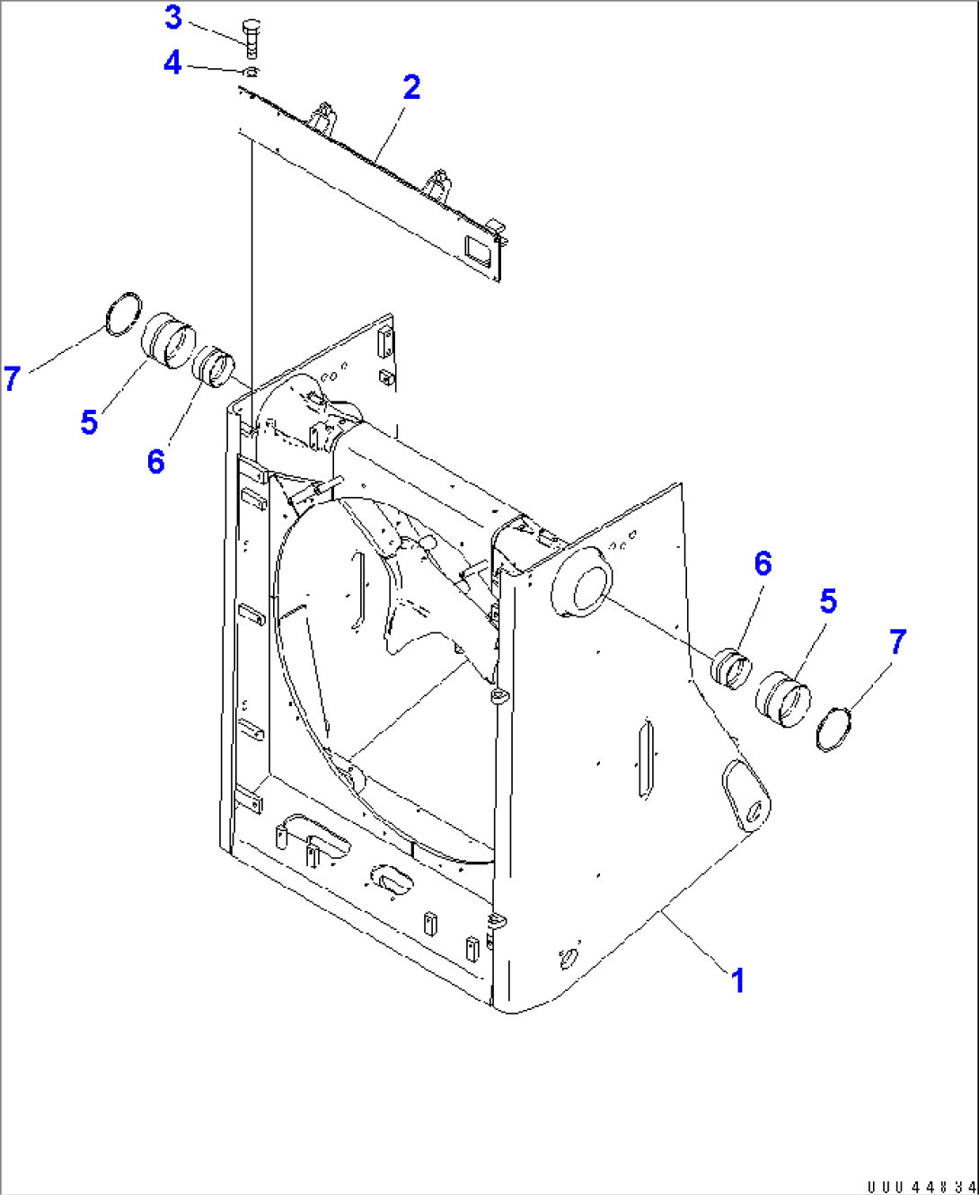
| Item | Part No. | Part Name | Qty | Serial No. |
| 1 | 17M-54-51111 | GUARD | 30001- | |
| 2 | 17M-54-51321 | BRACKET | 30001- | |
| 3 | 01010-81230 | BOLT | 30001- | |
| 4 | 01643-31232 | WASHER | 30001- | |
| 5 | 17M-61-21120 | BUSHING | 30001- | |
| 6 | 17M-61-21130 | BUSHING | 30001- | |
| 7 | 07145-00140 | SEAL | 30001- |

| Item | Part No. | Part Name | Qty | Serial No. |
| 1 | 17M-54-51111 | GUARD | 30001- | |
| 2 | 17M-54-51321 | BRACKET | 30001- | |
| 3 | 01010-81230 | BOLT | 30001- | |
| 4 | 01643-31232 | WASHER | 30001- | |
| 5 | 17M-61-21120 | BUSHING | 30001- | |
| 6 | 17M-61-21130 | BUSHING | 30001- | |
| 7 | 07145-00140 | SEAL | 30001- |