
Item | Part No. | Part Name | Qty | Serial No. |
232-61-00070 | VALVE ASS'Y,(FOR SCARIFIER) | 50002-50610 | ||
232-60-00350 | VALVE ASS'Y | 50002-50610 | ||
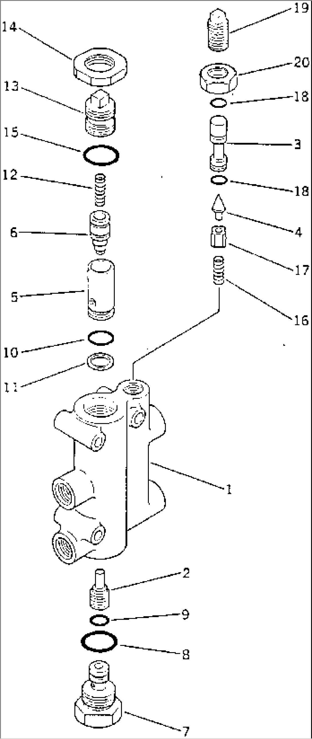
1 | \6\ | BODY | 50002-50610 | |
2 | \6\ | VALVE,PILOT | 50002-50610 | |
3 | \6\ | SPOOL | 50002-50610 | |
4 | \6\ | VALVE,POPPET | 50002-50610 | |
236-60-00071 | VALVE ASS'Y | 50002-50610 | ||
5 | \6\ | SLEEVE | 50002-50610 | |
6 | \6\ | VALVE,MAIN | 50002-50610 | |
7 | 232-60-56120 | PLUG | 50002-50610 | |
8 | 07002-13334 | O-RING | 50002-50610 | |
9 | 07000-13022 | O-RING | 50002-50610 | |
10 | 07000-12021 | O-RING | 50002-50610 | |
11 | 07001-02021 | RING | 50002-50610 | |
12 | 234-60-16350 | SPRING | 50002-50610 | |
13 | 232-60-16440 | PLUG | 50002-50610 | |
14 | 232-60-16450 | NUT | 50002-50610 | |
15 | 07002-13034 | O-RING | 50002-50610 | |
16 | 234-60-16240 | SPRING | 50002-50610 | |
17 | 232-60-56150 | COLLAR | 50002-50610 | |
18 | 07000-12012 | O-RING | 50002-50610 | |
19 | 232-60-56140 | BOLT | 50002-50610 | |
20 | 01583-12012 | NUT | 50002-50610 |