
| Item | Part No. | Part Name | Qty | Serial No. |
| (20Y-54-00337) | OPERATOR'S CAB ASS'Y | 86930-@ | ||
| (\0\20Y-54-00336) | OPERATOR'S CAB ASS'Y | 86105-86929 | ||
| (\3\20Y-54-00335) | OPERATOR'S CAB ASS'Y | 85781-86104 | ||
| (20Y-54-00336,20Y-54-35753) | ||||
| (\0\20Y-54-00334) | OPERATOR'S CAB ASS'Y | 83518-85780 | ||
| (\0\20Y-54-00333) | OPERATOR'S CAB ASS'Y | 82514-83517 | ||
| (\0\20Y-54-00332) | OPERATOR'S CAB ASS'Y | 82274-82513 | ||
| (\0\20Y-54-00331) | OPERATOR'S CAB ASS'Y | 81677-82273 | ||
| (\0\20Y-54-00330) | OPERATOR'S CAB ASS'Y | 80001-81676 | ||
| (20Y-54-00514) | DOOR ASS'Y | 86105-@ | ||
| (\3\20Y-54-00513) | DOOR ASS'Y | 83518-86104 | ||
| (20Y-54-00514,20Y-54-35753) | ||||
| (\0\20Y-54-00512) | DOOR ASS'Y | 82514-83517 | ||
| (\0\20Y-54-00511) | DOOR ASS'Y | 82274-82513 | ||
| (\0\20Y-54-00510) | DOOR ASS'Y | 80001-82273 | ||
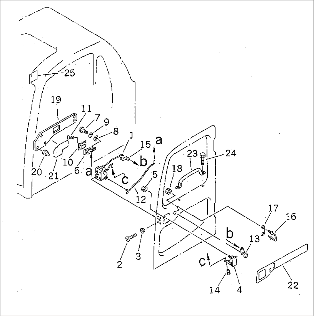
| 1 | 20Y-54-35941 | LATCH | 82514-@ | |
| 1 | \0\20Y-54-35940 | LATCH,DOOR | 80001-82513 | |
| 2 | 01240-00616 | SCREW | 80001-@ | |
| 3 | 195-Z11-1690 | WASHER | 80001-@ | |
| 4 | 20Y-54-35932 | HANDLE ASS'Y | 83518-@ | |
| 4 | \0\20Y-54-35931 | HANDLE ASS'Y | 80001-83517 | |
| 5 | 01584-00605 | NUT | 80001-@ | |
| 6 | 20Y-54-35910 | HANDLE | 80001-@ | |
| 7 | 01220-40512 | SCREW | 80001-@ | |
| 8 | 01641-20508 | WASHER | 80001-@ | |
| 9 | 01601-20513 | WASHER | 80001-@ | |
| 10 | 20Y-54-35920 | COVER | 80001-@ | |
| 11 | 20Y-54-35880 | SCREW | 80001-@ | |
| 12 | 20Y-54-35951 | ROD ASS'Y | 80001-@ | |
| 13 | 20Y-54-35890 | LOCK ASS'Y | 80001-@ | |
| 14 | 14X-911-1740 | SNAP,ROD | 80001-@ | |
| 15 | 205-54-71840 | SNAP | 80001-@ | |
| 16 | 20Y-54-35961 | STRIKER | 80001-@ | |
| 17 | 20Y-54-35710 | PLATE | 80001-@ | |
| 18 | 01584-01008 | NUT | 80001-@ | |
| 19 | 20Y-54-35760 | COVER | 80001-@ | |
| 20 | 20Y-54-14560 | CLIP ASS'Y | 80001-@ | |
| 21 | 20Y-54-35771 | SEAL | 80001-@ | |
| 22 | 20Y-54-35753 | PLATE | 82973-86104 | |
| 22 | \0\20Y-54-35752 | PLATE | 82274-82972 | |
| 22 | \0\20Y-54-35751 | PLATE | 80001-82273 | |
| 23 | 20Y-54-35690 | GRIP | 80001-@ | |
| 24 | 01240-00820 | SCREW | 80001-@ | |
| 25 | 20Y-54-39781 | PLATE | 80001-@ |
