
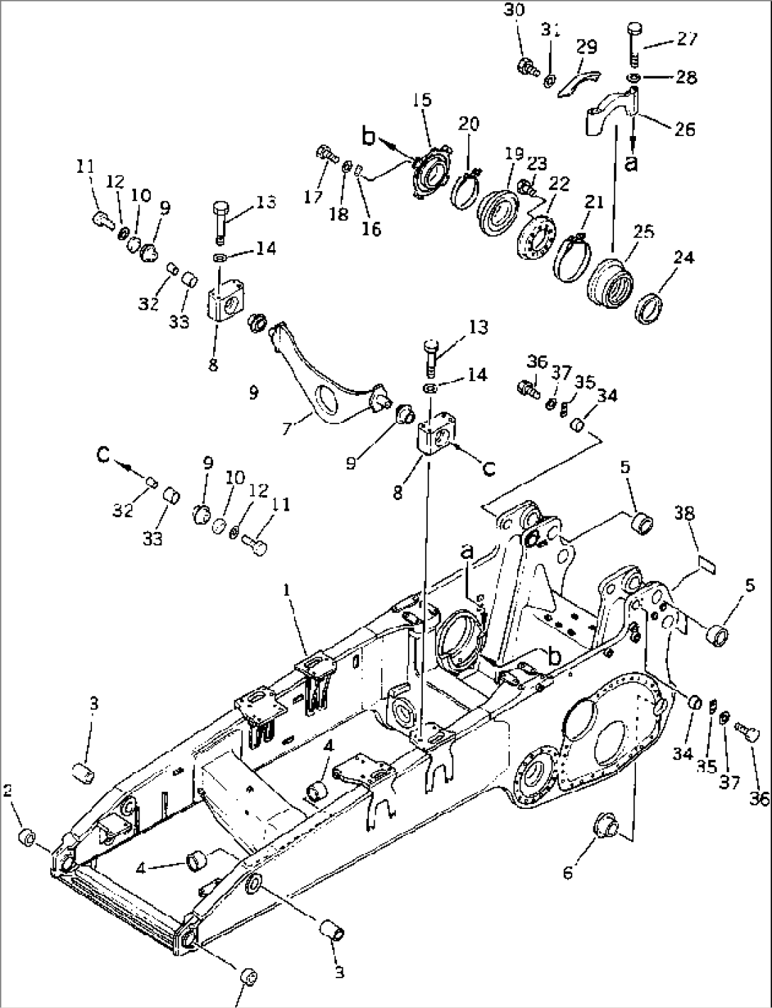
| Item | Part No. | Part Name | Qty | Serial No. |
| 195-21-00070 | MAIN FRAME ASS'Y | 16001- | ||
| 195-21-00051 | MAIN FRAME ASS'Y,(B) | 16001- | ||
| 1 | \6\ | FRAME,MAIN | 16001- | |
| 1 | \6\ | FRAME,MAIN,(B) | 16001- | |
| 2 | 195-21-32510 | BUSHING | 16001- | |
| 3 | 195-21-32521 | BUSHING | 16001- | |
| 4 | 195-21-33140 | BUSHING | 16001- | |
| 5 | 195-21-32670 | BUSHING | 16001- | |
| 6 | 195-21-32480 | BUSHING | 16001- | |
| 7 | 195-21-32311 | BRACKET | 16001- | |
| 8 | 195-21-32320 | CAP | 16001- | |
| 9 | 195-01-32110 | CUSHION | 16001- | |
| 10 | 195-01-31130 | PLATE | 16001- | |
| 11 | 01010-51435 | BOLT | 16001- | |
| 12 | 01643-31445 | WASHER | 16001- | |
| 13 | 203-09-21110 | BOLT | 16001- | |
| 14 | 01643-32460 | WASHER | 16001- | |
| 15 | 195-21-32370 | CAGE | 16001- | |
| 16 | 195-21-32380 | PLATE | 16001- | |
| 17 | 01010-51025 | BOLT | 16001- | |
| 18 | 01643-31032 | WASHER | 16001- | |
| 19 | 195-21-32421 | SEAL | 16001- | |
| 20 | 195-21-32390 | CLAMP | 16001- | |
| 20 | 195-21-32810 | CLAMP,(HEAVY DUTY) | 16001- | |
| 21 | 195-21-32430 | COUPLING | 16001- | |
| 21 | 195-21-32821 | COUPLING,(HEAVY DUTY) | 16001- | |
| 22 | 195-21-32540 | FLANGE | 16001- | |
| 23 | 01010-51230 | BOLT | 16001- | |
| 24 | 195-21-32341 | BUSHING | 16001- | |
| 25 | 195-21-32361 | CUSHION | 16001- | |
| 26 | 195-21-32450 | CAP | 16001- | |
| 27 | 11S-70-11170 | BOLT | 16001- | |
| 28 | 01643-32060 | WASHER | 16001- | |
| 29 | 195-21-32461 | COVER | 16001- | |
| 30 | 01010-51220 | BOLT | 16001- | |
| 31 | 01643-31232 | WASHER | 16001- | |
| 32 | 195-01-32130 | CUSHION | 16001- | |
| 33 | 195-01-32120 | CUSHION | 16001- | |
| 34 | 195-21-32690 | BUSHING | 16001- | |
| 35 | 04082-00312 | LOCK | 16001- | |
| 36 | 01010-51230 | BOLT | 16001- | |
| 37 | 01643-31232 | WASHER | 16001- | |
| 38 | 154-98-14630 | PLATE, MARK | 16001- |
