
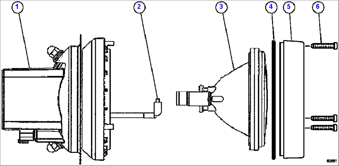
| Item | Part No. | Part Name | Qty | Serial No. |
| 1 | EM4514 | FLANGE HOUSING ASSEMBLY W/ BALLAST | ||
| 2 | EM4515 | BULB, LIGHT - 24V/35W | ||
| 3 | EM4511 | LENS/REFLECTOR, HIGH BEAM (W/O BULB) (1) | ||
| 3 | EM4512 | LENS/REFLECTOR, LOW BEAM (W/O BULB) (2) | ||
| 3 | EM4513 | LENS/REFLECTOR, FOG - AMBER (W/O BULB) (3) | ||
| 4 | AK7556 | GASKET | ||
| 5 | AK7559 | BEZEL | ||
| 6 | AK7561 | SCREW | ||
| NS|9 | NOTE: (1) INCLUDED IN EM3267 HEADLIGHT ASSM (HIGH BEAM). | |||
| NS|10 | (2) INCLUDED IN EM3268 HEADLIGHT ASSM (LOW BEAM). | |||
| NS|11 | (3) INCLUDED IN EM3269 FOG LIGHT ASSEMBLY. | |||
| NS|12 | (ALL PARTS ARE COMMON, EXCEPT WHERE INDICATED.) |
