
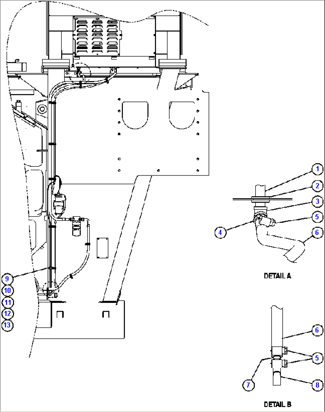
| Item | Part No. | Part Name | Qty | Serial No. |
| 1 | TG1993 | NIPPLE, LONG - 1/2" NPT X 8" | ||
| 2 | SL6447 | GROMMET, RUBBER | ||
| 3 | R5011 | ELBOW | ||
| 4 | KC3835 | FITTING | ||
| 5 | HC0908 | CLAMP, WORM DRIVE | ||
| 6 | HK0425 | HOSE | ||
| 7 | SM6023 | TUBE | ||
| 8 | SM6022 | VALVE, VACUUM | ||
| 9 | WB3093 | CLAMP - 1" I.D. | ||
| 10 | MM0471 | LOCKWASHER - M10 | ||
| 11 | TY8375 | SPACER | ||
| 12 | MM0178 | NUT - M10 X 1.50 | ||
| 13 | MM0461 | FLAT WASHER - M10 |
