
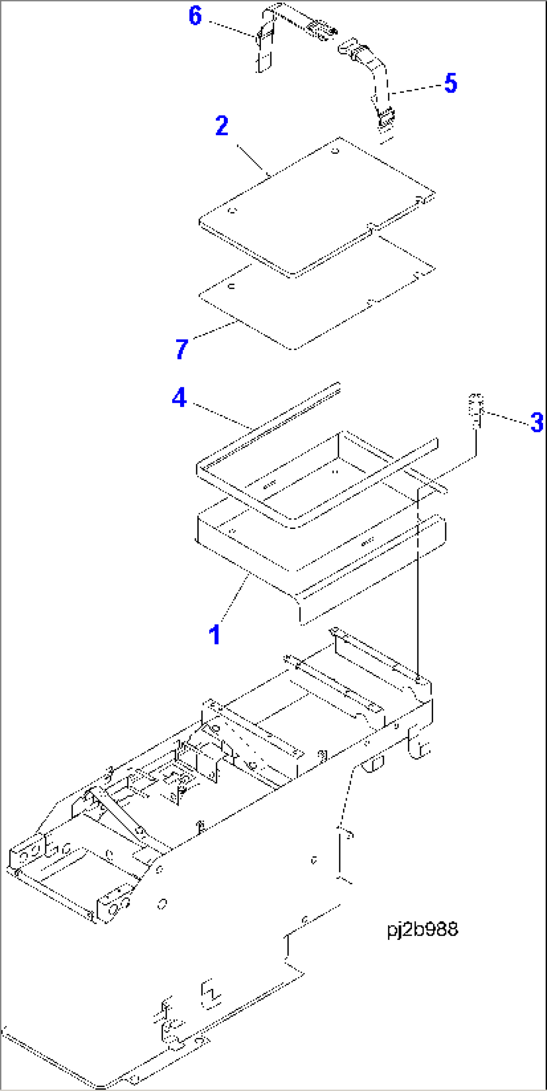
| Item | Part No. | Part Name | Qty | Serial No. |
| 1 | 426-54-22751 | CASE | H20051- | |
| 2 | 426-54-22760 | SHEET | H20051- | |
| 3 | 421-09-21430 | SCREW | H20051- | |
| 4 | 426-54-22770 | FINISHER | H20051- | |
| 5 | 426-54-22780 | BAND | H20051- | |
| 6 | 426-54-22790 | BAND | H20051- | |
| 7 | 427-54-22120 | PLATE | H20051- |

| Item | Part No. | Part Name | Qty | Serial No. |
| 1 | 426-54-22751 | CASE | H20051- | |
| 2 | 426-54-22760 | SHEET | H20051- | |
| 3 | 421-09-21430 | SCREW | H20051- | |
| 4 | 426-54-22770 | FINISHER | H20051- | |
| 5 | 426-54-22780 | BAND | H20051- | |
| 6 | 426-54-22790 | BAND | H20051- | |
| 7 | 427-54-22120 | PLATE | H20051- |