
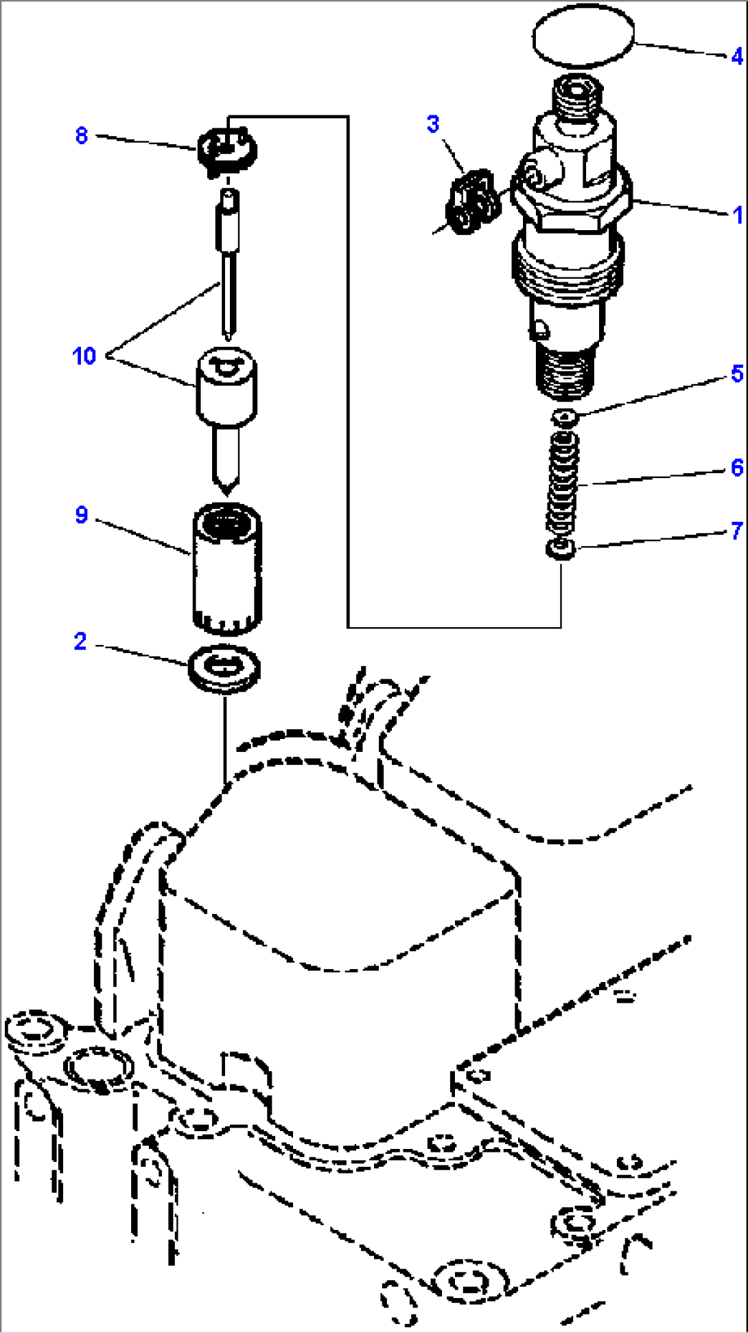
| Item | Part No. | Part Name | Qty | Serial No. |
| 6733-11-3100 | KIT, INJECTOR | |||
| 1 | (NSS) | INJECTOR, FUEL | ||
| 2 | 6736-11-3430 | SEAL, INJECTOR | ||
| 3 | 6732-71-6230 | SEAL, BANJO CONNECTOR | ||
| 4 | 6732-11-3850 | SEAL, RECTANGULAR RING | ||
| 5 | 6734-11-3610 | SHIM - 0.039 IN. (1.00 MM) | ||
| 5 | 6734-11-3620 | SHIM - 0.041 IN. (1.04 MM) | ||
| 5 | 6734-11-3630 | SHIM - 0.042 IN. (1.08 MM) | ||
| 5 | 6734-11-3640 | SHIM - 0.043 IN. (1.10 MM) | ||
| 5 | 6734-11-3650 | SHIM - 0.045 IN. (1.14 MM) | ||
| 5 | 6734-11-3660 | SHIM - 0.046 IN. (1.18 MM) | ||
| 5 | 6734-11-3670 | SHIM - 0.047 IN. (1.20 MM) | ||
| 5 | 6734-11-3680 | SHIM - 0.049 IN. (1.24 MM) | ||
| 5 | 6734-11-3690 | SHIM - 0.050 IN. (1.28 MM) | ||
| 5 | 6734-11-3710 | SHIM - 0.051 IN. (1.30 MM) | ||
| 5 | 6734-11-3720 | SHIM - 0.053 IN. (1.34 MM) | ||
| 5 | 6734-11-3730 | SHIM - 0.054 IN. (1.38 MM) | ||
| 5 | 6734-11-3740 | SHIM - 0.055 IN. (1.40 MM) | ||
| 5 | 6734-11-3750 | SHIM - 0.057 IN. (1.44 MM) | ||
| 5 | 6734-11-3760 | SHIM - 0.058 IN. (1.48 MM) | ||
| 5 | 6734-11-3770 | SHIM - 0.059 IN. (1.50 MM) | ||
| 5 | 6734-11-3780 | SHIM - 0.060 IN. (1.54 MM) | ||
| 5 | 6734-11-3790 | SHIM - 0.062 IN. (1.58 MM) | ||
| 5 | 6734-11-3810 | SHIM - 0.063 IN. (1.60 MM) | ||
| 5 | 6734-11-3820 | SHIM - 0.065 IN. (1.64 MM) | ||
| 5 | 6734-11-3830 | SHIM - 0.066 IN. (1.68 MM) | ||
| 5 | 6734-11-3840 | SHIM - 0.067 IN. (1.70 MM) | ||
| 5 | 6734-11-3850 | SHIM - 0.069 IN. (1.74 MM) | ||
| 5 | 6734-11-3860 | SHIM - 0.070 IN. (1.78 MM) | ||
| 5 | 6734-11-3870 | SHIM - 0.071 IN. (1.80 MM) | ||
| 5 | 6734-11-3880 | SHIM - 0.072 IN. (1.84 MM) | ||
| 5 | 6734-11-3890 | SHIM - 0.074 IN. (1.88 MM) | ||
| 5 | 6734-11-3910 | SHIM - 0.075 IN. (1.90 MM) | ||
| 5 | 6734-11-3920 | SHIM - 0.076 IN. (1.94 MM) | ||
| 5 | 6734-11-3930 | SHIM - 0.078 IN. (1.98 MM) | ||
| 6 | 6734-11-3160 | SPRING, COMPRESSION | ||
| 7 | 6734-11-3180 | SPINDLE | ||
| 8 | 6734-11-3170 | DISC, INTERMEDIATE | ||
| 9 | 6734-11-3140 | RETAINER, INJECTOR NOZZLE | ||
| 10 | 6735-11-3160 | NOZZLE, INJECTOR | ||
