
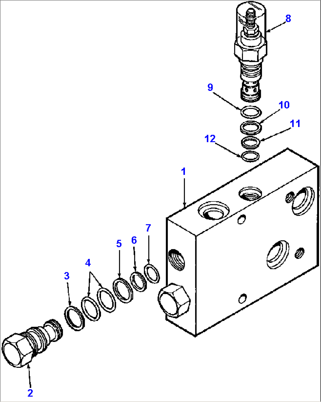
| Item | Part No. | Part Name | Qty | Serial No. |
| 1252 161 H92 | VALVE, DUAL PILOT CHECK & RELIEF | |||
| 1 | (NSS) | BLOCK, VALVE | ||
| 2 | 1257 987 H1 | CARTRIDGE, PILOT CHECK | ||
| 1257 988 H1 | KIT, SEAL | |||
| 3 | (NSS) | RING, BACKUP | ||
| 4 | (NSS) | O-RING | ||
| 5 | (NSS) | RING, BACKUP | ||
| 6 | (NSS) | RING, BACKUP | ||
| 7 | (NSS) | O-RING | ||
| 8 | 1434 431 H1 | CARTRIDGE, RELIEF VALVE | ||
| 1257 990 H1 | KIT, SEAL | |||
| 9 | (NSS) | O-RING | ||
| 10 | (NSS) | RING, BACKUP | ||
| 11 | (NSS) | RING, BACKUP | ||
| 12 | (NSS) | O-RING |
