
| Item | Part No. | Part Name | Qty | Serial No. |
| (8296-74-1101) | CRANE ASS'Y | 1006- | ||
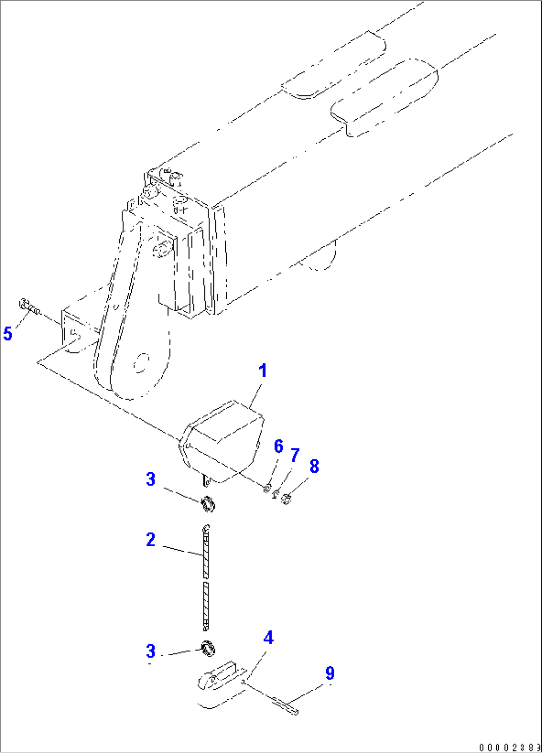
| 1 | MH4880-01001-A | OVER WINDING ALARM | 1006- | |
| MHS511-P000800 | ROPE ASS'Y | 1006- | ||
| 2 | MHS511-P000801 | WIRE ROPE | 1006- | |
| 3 | MHS511-P000802 | RING | 1006- | |
| 4 | MH551-4036900 | WEIGHT | 1006- | |
| 5 | MH21012-06020 | BOLT | 1006- | |
| 6 | MH21741-06006 | WASHER | 1006- | |
| 7 | MH21711-06002 | WASHER, SPRING | 1006- | |
| 8 | MH21211-06210 | NUT | 1006- | |
| 9 | MH21540-06040 | SPRING PIN | 1006- |
