
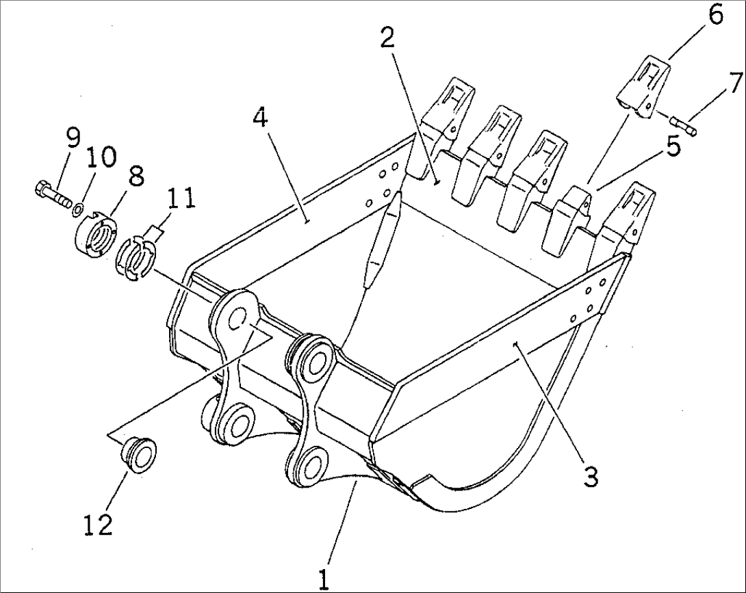
| Item | Part No. | Part Name | Qty | Serial No. |
| 1 | 20Y-939-2113 | BUCKET | 11733- | |
| 20Y-939-2112 | BUCKET | 11662-11732 | ||
| 20Y-939-2111 | BUCKET | 11001-10661 | ||
| 2 | 20Y-939-2121 | PLATE (WELDED) | 11662- | |
| 20Y-939-2120 | PLATE (WELDED) | 11001-10661 | ||
| 3 | 20Y-70-34121 | PLATE,L.H. (WELDED) | 11733- | |
| 20Y-70-24132 | PLATE (WELDED) | 11673-11732 | ||
| 20Y-70-24131 | PLATE,L.H. (WELDED) | 11662-11672 | ||
| 20Y-70-24130 | PLATE,L.H. (WELDED) | 11001-10661 | ||
| 4 | 20Y-70-34131 | PLATE,R.H. (WELDED) | 11733- | |
| 20Y-70-24142 | PLATE (WELDED) | 11673-11732 | ||
| 20Y-70-24141 | PLATE,R.H. (WELDED) | 11662-11672 | ||
| 20Y-70-24140 | PLATE,R.H. (WELDED) | 11001-10661 | ||
| 5 | 20Y-939-1180 | ADAPTER (WELDED) | 11001- | |
| 6 | 205-70-19570 | TOOTH | 11001- | |
| 7 | 09244-02496 | PIN | 11001- | |
| 8 | 205-70-74391 | PLATE | 11001- | |
| 9 | 01010-62055 | BOLT | 11001- | |
| 10 | 01643-32060 | WASHER | 11001- | |
| 11 | 205-70-00100 | SHIM ASS'Y | 11001- | |
| \6\ | SHIM¤ 1.0MM | 11001- | ||
| \6\ | SHIM¤ 0.5MM | 11001- | ||
| 12 | 205-70-74381 | SPACER | 11001- |
