
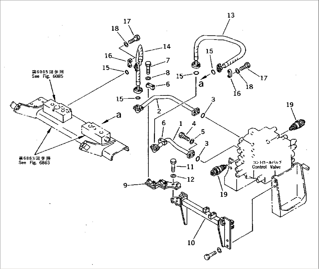
Item | Part No. | Part Name | Qty | Serial No. |
G-1 | (\8\207-970-X110) | ATT. PIPING KIT | 20001- | |
==================== | ||||
1 | 207-970-5230 | TUBE | 20001- | |
2 | 207-970-5221 | TUBE | 20001- | |
3 | 21T-09-11470 | O-RING | 20001- | |
4 | 07372-21040 | BOLT | 20001- | |
5 | 01643-51032 | WASHER | 20001- | |
6 | 21T-62-74730 | CLAMP | 20001- | |
7 | 01010-51250 | BOLT | 20001- | |
8 | 01643-31232 | WASHER | 20001- | |
9 | 207-970-5311 | BRACKET | 20001- | |
10 | 207-970-5470 | BRACKET | 20001- | |
11 | 01010-51235 | BOLT | 20001- | |
12 | 01643-31232 | WASHER | 20001- | |
13 | 07099-01012 | HOSE | 20001- | |
14 | 07097-01007 | HOSE | 20001- | |
15 | 07000-13032 | O-RING | 20001- | |
16 | 07371-31049 | FLANGE | 20001- | |
17 | 07372-21035 | BOLT | 20001- | |
18 | 01643-51032 | WASHER | 20001- | |
19 | (709-90-71400) | VALVE ASS'Y | 20001- | |
==================== |